產品中心
product center
日期:2022-02-28 點擊率:1706
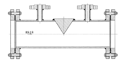
【特點】
壓力損失小、不易被堵塞、前后直管段長度短、測量度較高、使用壽命長,適用于含雜質較多的氣體、液體、易結晶液體的測量。
【規格】
DN : 200-2000mm
PN : 0.25-10MPa
【型號】
上一篇 : V錐形流量計
下一篇 : 沒有了!
公司地址:江蘇省江陰市濱江開發區肖山路57號
Copyright ? 2022-2032 江陰市方正儀表有限公司 All Rights Reserved. 網址:m.zhaituanwang.com
備案號 : 蘇ICP備10080815號-1 XML SITEMAP
主營產品 : 節流裝置孔板流量計標準噴嘴長徑噴嘴經典文丘里管